申请号:CN201610692792.2
专利名称: 一种应用于高层建筑的送风系统及方法
发明人:纪杰; 周腾蛟; 高子鹤; 杨立中; 姚斌; 李曼; 原向勇; 张林鹤
专利类型:发明专利
摘要:
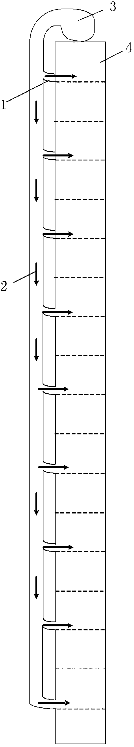
本发明提供了一种应用于高层建筑的送风系统及方法,高层建筑具有多个层,各层设有一个楼梯间,且各层之间通过楼梯间连通,送风系统包括多个送风口,各送风口等间隔地设于不同的楼梯间,以向相应的楼梯间送风,其中,各送风口的面积不同。本发明通过精确确定各送风口的尺寸,使得通过各送风口向防烟楼道输入的风量相同,保证整个防烟楼梯间的均匀加压,可以用更少的送风量挡住任意楼层的烟气进入,并可以避免因为某些部位过压而造成疏散门的难以开启。
